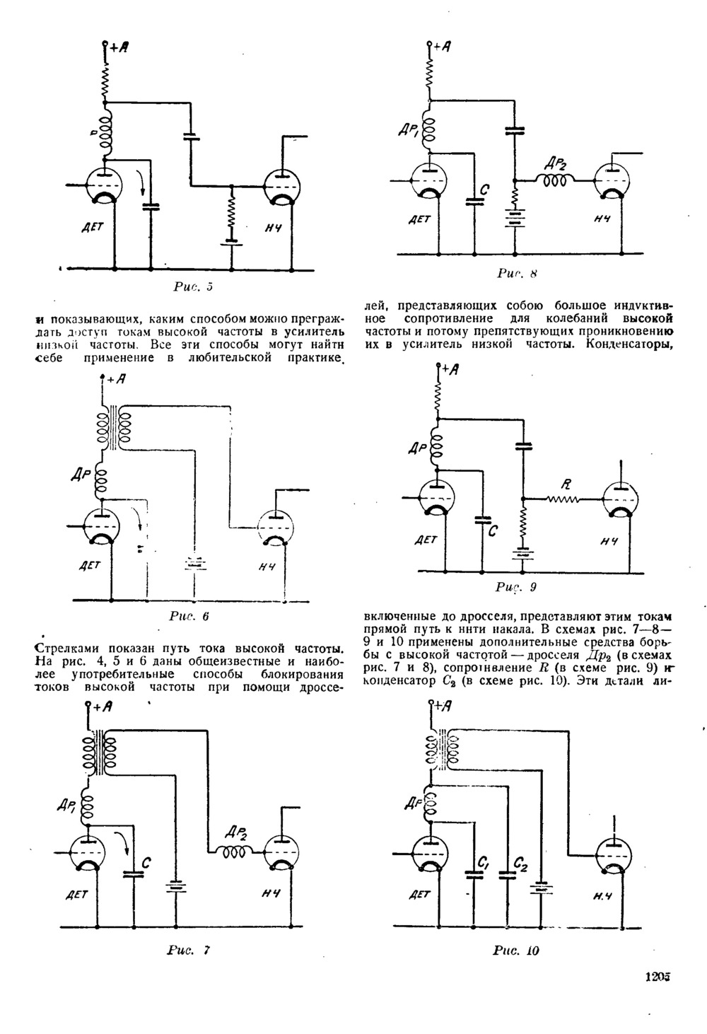
Стр. 61 (1205) журнала «Радиофронт» № 19–20 за 1931 год
Стр. 58 (1202) Стр. 59 (1203) Стр. 60 (1204) ← Стр. 61 (1205) → Стр. 62 (1206) Стр. 63 (1207) Стр. 64 (1208)
